AMD vừa tiết lộ một bằng sáng chế quan trọng liên quan đến DRAM, mang lại bước nhảy vọt về hiệu suất bộ nhớ mà không cần phụ thuộc vào việc nâng cấp silicon DRAM. Thay vì cải tiến kiến trúc phần cứng truyền thống, hãng đã tập trung vào logic xử lý ngay trên module, mở ra tiềm năng lớn cho cả hệ thống máy tính hiệu năng cao và các dòng APU.
Giải pháp HB-DIMM và cách hoạt động
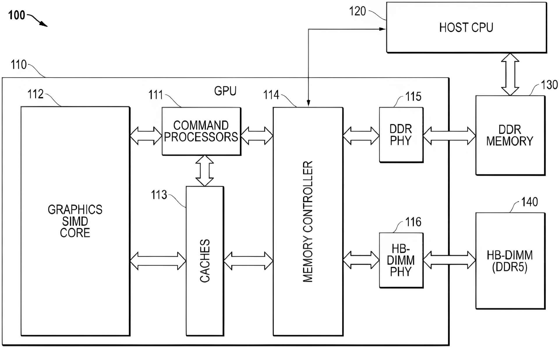
Theo nội dung bằng sáng chế, AMD giới thiệu kỹ thuật mới mang tên HB-DIMM (High-Bandwidth DIMM). Thay vì cải tiến trực tiếp chip DRAM, AMD đã kết hợp RCD (Register/Clock Driver) cùng chip đệm dữ liệu ngay trên module. Phương pháp này cho phép tăng băng thông từ 6.4 Gb/s mỗi pin lên 12.8 Gb/s mỗi pin – tức gấp đôi so với chuẩn DDR5 thông thường.
Cơ chế hoạt động dựa trên việc re-timing và multiplexing, tức là tái đồng bộ và kết hợp luồng dữ liệu. Bằng cách gom hai luồng DRAM tốc độ chuẩn thành một luồng tốc độ cao hơn truyền đến bộ xử lý, hệ thống có thể đạt băng thông gấp đôi mà không cần thay đổi kiến trúc silicon. Đây là một cải tiến mang tính DIMM-focused, tập trung hoàn toàn vào module bộ nhớ thay vì bản thân chip DRAM.
Ứng dụng thực tiễn và tác động với APU
Điểm đáng chú ý là giải pháp này không chỉ hữu ích cho AI và các tác vụ đòi hỏi băng thông lớn, mà còn mở ra khả năng tối ưu cho các dòng APU/iGPU. Bằng sáng chế đề cập đến việc sử dụng song song hai “kênh bộ nhớ”: một kênh DDR5 PHY truyền thống và một kênh HB-DIMM PHY. Trong đó, DDR5 cung cấp dung lượng lớn, còn HB-DIMM xử lý dữ liệu với tốc độ cao hơn, đặc biệt hữu ích trong các tác vụ AI chạy trực tiếp trên thiết bị.
Với xu hướng AI Edge ngày càng quan trọng, giải pháp này có thể mang lại lợi thế lớn cho AMD trong việc xử lý tác vụ AI tại chỗ, nơi yêu cầu phản hồi nhanh và khả năng xử lý dữ liệu lớn. Tuy nhiên, hạn chế tiềm ẩn là mức tiêu thụ điện năng cao hơn, đồng nghĩa với việc cần giải pháp tản nhiệt tối ưu để duy trì hiệu suất ổn định.
AMD khẳng định vị thế trong lĩnh vực bộ nhớ
Không phải lần đầu AMD đi tiên phong trong công nghệ bộ nhớ. Trước đây, hãng đã hợp tác với SK Hynix để phát triển chuẩn HBM (High Bandwidth Memory), tạo nên dấu ấn lớn trong ngành. Với HB-DIMM, AMD tiếp tục chứng minh chuyên môn và năng lực sáng tạo, đưa ra giải pháp có thể thay đổi cách thức thiết kế bộ nhớ trong tương lai.
Mặc dù còn trong giai đoạn bằng sáng chế, tiềm năng của HB-DIMM là rất lớn. Nó có thể mang lại đột phá trong hiệu suất mà không cần phụ thuộc vào việc thu nhỏ tiến trình DRAM – vốn ngày càng khó khăn và tốn kém. Nếu được ứng dụng rộng rãi, đây sẽ là một bước tiến quan trọng giúp AMD tạo lợi thế cạnh tranh trong kỷ nguyên điện toán AI và điện toán hiệu năng cao.

